SONGBO HE,HERO JAN HEERES,HERO JAN HEERES,JESSI OSORIO VELASCO
PCT/EP2023/054302
WO/2023/156679
Priority date 21/02/2022
Published 24/08/2023

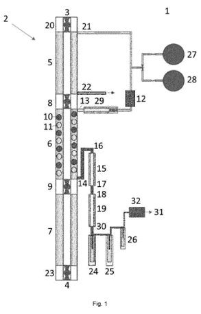
Abstract: The invention relates to an apparatus and method for pyrolyzing a feedstock in an open container. The apparatus comprises a downer reactor with an entry located at the top end of the downer for feeding and an exit located at the bottom end of the downer for removing the container from the downer, the downer being divided into at least three vertically arranged zones by at least two locking systems on either side of a middle pyrolysis zone, wherein the at least two locking systems are configured to simultaneously close for sealing the pyrolysis zone, wherein the at least two locking systems are further configured to let through the container in an open position, the apparatus comprising heating means, cooling means and pressurizing means configured to adjust the temperature and pressure of at least the pyrolysis zone independently from the other zones.
摘要:本发明涉及一种用于在开放容器中进行原料热解的装置及方法。该装置包括一个下行反应器,该反应器顶部设有用于投料的入口,底部设有用于将容器从反应器中取出的出口。该反应器通过位于中间热解区两侧的至少两个锁定系统,被划分为至少三个垂直布置的区域,其中所述至少两个锁定系统可被配置为同时关闭,以密封热解区;并可被进一步配置为在开启状态下使容器通过。该装置还包括加热装置、冷却装置和加压装置,这些装置被配置用于独立于其他区域来调节至少热解区的温度和压力。